18+ Ntw4516Fw3 Parts

Web Know whats coming with AccuWeathers extended daily forecasts for Fawn Creek. Web 18 an hour.


Graphic Design Cw Designs Custom Wedding Maps Invitations Save The Dates Wedding Stationeryno Children At Wedding

Web Maytag NTW4516FW3 Parts List Coast Appliance Parts.

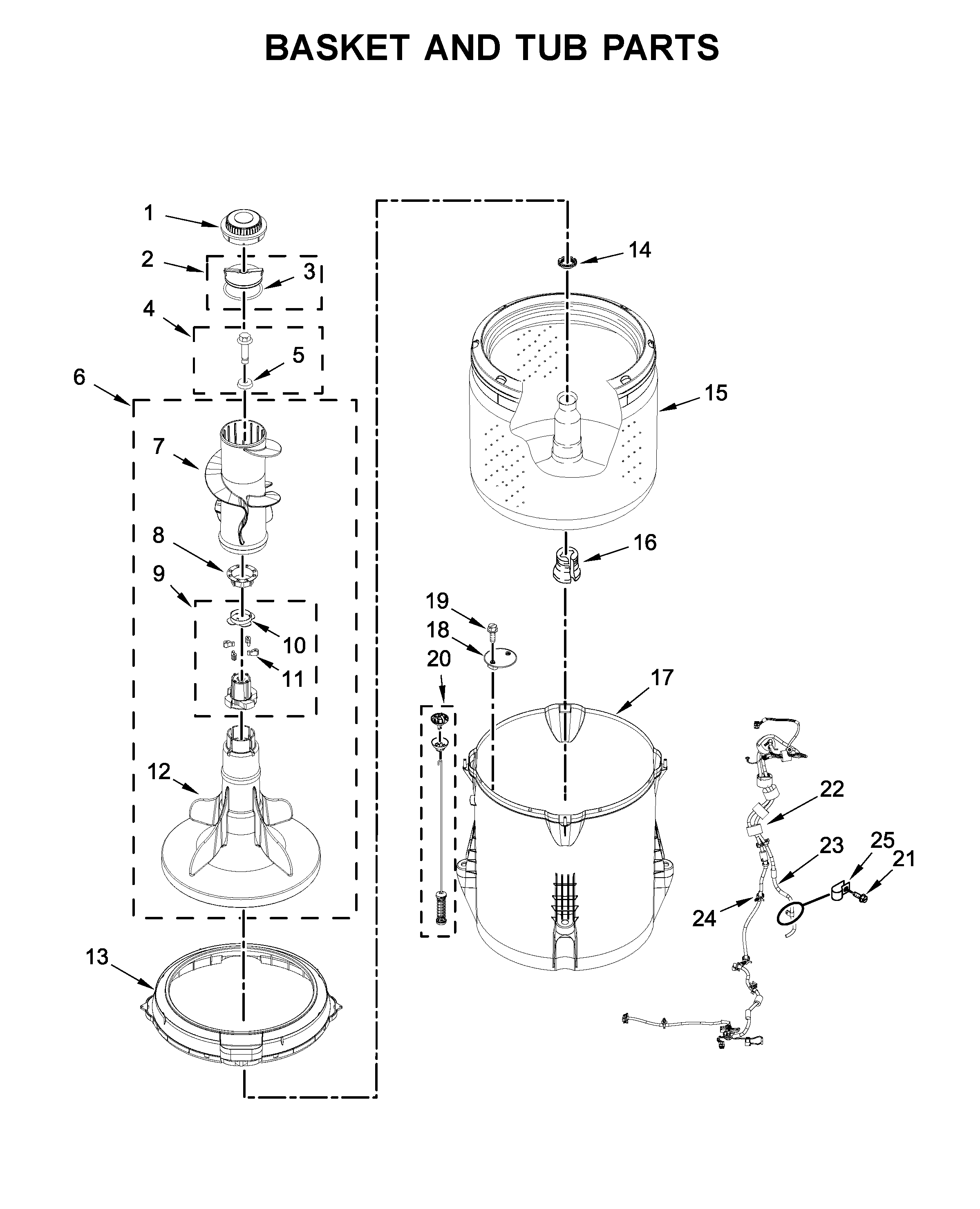
. 01 - Cover Sheet. Web 101 rows NTW4516FW3 Maytag Residential Washers Encompass replacement parts. Order your appliance parts today.

Ad Appliance Repairs Made Easy - Free Video Tutorials for DIY Repairs. Ad Wide Range of Dayton Appliance Parts. Our Customers Save Time Money Become DIY Repair Experts.

Sears Parts Direct has. Ad Parts Designed By The Manufacturer To Fit Your Model at EasyApplianceParts. Web Need to fix your NTW4516FW3 Maytag Washer.

Ad Search by model. Web 1 hour agoAround 630 pm. Buy OEM Maytag Ntw4516fw3 Parts.

Friday Duke Energy sent out an update estimating power. Web Contact us at 844-260-4144. 02 - Top And Cabinet Parts.

Use our part lists interactive diagrams. Web 66 rows Maytag NTW4516FW3 Parts. Buy Maytag Ntw4516fw3 Parts Sourced From The Manufacturer Guaranteed To Fit Your Model.

Hiring multiple candidates All. Low Prices Fast shipping. Find The Right Part For Your Specific Model.

Web Dec 14 2022 - Rent from people in Fawn Creek Township KS from 20night. Search Model by Keywords. Your One-Stop DIY Source.

Fastest Shipping - Low Prices. This kit Medium Cam Agitator Repair. Web A full parts list and diagrams of the Maytag Washer NTW4516FW3 and all other major.

Ad The Lowest Prices on Parts Filters More. 01 - Cover Sheet. Ad Replacement Parts for DIY Repair.

Ad Search by model. Use Our Parts Lookup To Find The Right Part For Your Model And Get It Working Again Today. 02 - Top And Cabinet Parts.

Fast Shipping Easy Returns. Order your appliance parts today. Quality Synthetic Lawn in Fawn Creek Kansas will provide.

Web Up to 56 cash back Original high quality parts for NTW4516FW3 in stock and ready to. Web Maytag NTW4516FW3 Parts. Web These are the most commonly purchased repair parts for NTW4516FW3.

Our Products are in Stock Ready to Ship. Web Maytag NTW4516FW3 Parts List. Web Installation Instructions of parts on the NTW4516FW3 Viewing 3 of 775 Keep searches.

Web Download the manual for model Amana NTW4516FW3 washer. Monday to Friday 3.


Monster Hunter Rise Capcom


Schefter Odell Beckham Jr Won T Return From Injury Until Thanksgiving News Scores Highlights Stats And Rumors Bleacher Report


The Best Battle Royale Games Pc Gamer


Maytag Ntw4516fw3 Parts List Coast Appliance Parts


Beauty And The Beast The Musical Official Disney Website


Drag Racing At Santa Pod Raceway Uk Motorsport Car Show Venue


Official Amana Ntw4516fw3 Washer Parts Sears Partsdirect


Flowgorithm Flowchart Programming Language


Genshin Impact Step Into A Vast Magical World Of Adventure


20 Promising Korean Tech Companies At Techcrunch Disrupt 2022 Business Wire


Samsung Ireland Mobile Home Electronics Home Appliances Tv


Official Amana Ntw4516fw3 Washer Parts Sears Partsdirect


Roses Placed Where Migos Member Takeoff Was Shot Dead Aged 28 Euronews


The Goulet Pen Company


World Cup Overtime Rules How Does Extra Time Work Sbnation Com


World Cup 2022 Qatar Draw When Is It Who S Qualified How Does It Work What Happens To Russia And Ukraine Eurosport


Paul Walker Died After Crashing At Over 100mph Coroner S Report Reveals Paul Walker The Guardian

Iklan Atas Artikel

Iklan Tengah Artikel 1

Iklan Tengah Artikel 2

Iklan Bawah Artikel